Coolant Bypass Line
have you noticed that nissan removed the coolant bypass line that enters into the front of the thermostat on the HR motors? the HR thermostats are identical to the DE thermostats except for the missing port.
Nissan still uses a secondary bypass though....that enter into the driver's side head...just like the DE. they just moved the location of the other end of that bypass to the driver's side of the cast coolant pipe that connects to both heads.
now...on the worries of cavitation......you aren't supposed to be revving up or gettin on it while you motor is still trying to reach operating temperature. I have been running my setup with all the "extra" pipes and hoses removed. My car is a daily driver...and I truly mean that. It has 61,000 miles on it with about 50,000 of those coming while being turbocharged. I live in Florida, and really cold days aren't an issue. The coolant temps come up to normal operating temperautre just as they did prior to the cooling pipe mods. Everything works perfectly.
Now, as far as Redmist saying "The bypass most certainly has absolutely nothing to do with getting an engine up to temperature faster (that’s what a thermostat is for)." I have to disagree wit that. The thermostat is designed to regulate engine coolant temperatures so that they aren't too cold. Without a thermostat, you'll have a hard time maintaining (or getting to) the engine's optimal block temperature. For emissions purposes, OEMs need to get the motor up to operatign temps as fast as possible. Cold Start emissions are one of the areas of greatest concern with OEMs. It is of greater concern than emissions while driving the vehicle as cold start emissions produce hugely higher levels of "bad" emissions. That is why nissan uses the coolant bypasses on these motors. Recall, that Nissan was able to certify these motors as ULEV; they went to great lengths to accomplish this. They need to the block temp, oil temps, and catalysyts to get to their most efficient operating temps as fast as possible.
on a side note......nice mod job on the coolant pipe Charles!
Nissan still uses a secondary bypass though....that enter into the driver's side head...just like the DE. they just moved the location of the other end of that bypass to the driver's side of the cast coolant pipe that connects to both heads.
now...on the worries of cavitation......you aren't supposed to be revving up or gettin on it while you motor is still trying to reach operating temperature. I have been running my setup with all the "extra" pipes and hoses removed. My car is a daily driver...and I truly mean that. It has 61,000 miles on it with about 50,000 of those coming while being turbocharged. I live in Florida, and really cold days aren't an issue. The coolant temps come up to normal operating temperautre just as they did prior to the cooling pipe mods. Everything works perfectly.
Now, as far as Redmist saying "The bypass most certainly has absolutely nothing to do with getting an engine up to temperature faster (that’s what a thermostat is for)." I have to disagree wit that. The thermostat is designed to regulate engine coolant temperatures so that they aren't too cold. Without a thermostat, you'll have a hard time maintaining (or getting to) the engine's optimal block temperature. For emissions purposes, OEMs need to get the motor up to operatign temps as fast as possible. Cold Start emissions are one of the areas of greatest concern with OEMs. It is of greater concern than emissions while driving the vehicle as cold start emissions produce hugely higher levels of "bad" emissions. That is why nissan uses the coolant bypasses on these motors. Recall, that Nissan was able to certify these motors as ULEV; they went to great lengths to accomplish this. They need to the block temp, oil temps, and catalysyts to get to their most efficient operating temps as fast as possible.
on a side note......nice mod job on the coolant pipe Charles!
You need to think a little more.
If you have no flow, you have no temperature change at the thermostat. Once the engine coolant is up to temperature.... well, nothing happens as there is no temperature change at the thermostat! This is the entire reason cars have a bypass, in order to flow heated water over the stat, heat the thermostat so that it may open. The bypass most certainly has absolutely nothing to do with getting an engine up to temperature faster (that’s what a thermostat is for). It's job is to heat the thermostat so that it may open, and possibly stop un-uniform water pressure buildup. Without it, the thermostat will open considerably later, and after the water at the heads is considerably over temperature (as the thermostat will be heated eventually by heat soak).
I suspect that also with the thermostat closed and no bypass you'll be cavitating the water pump, and cause hot spots in the head. However this is purely conjecture.
If you have no flow, you have no temperature change at the thermostat. Once the engine coolant is up to temperature.... well, nothing happens as there is no temperature change at the thermostat! This is the entire reason cars have a bypass, in order to flow heated water over the stat, heat the thermostat so that it may open. The bypass most certainly has absolutely nothing to do with getting an engine up to temperature faster (that’s what a thermostat is for). It's job is to heat the thermostat so that it may open, and possibly stop un-uniform water pressure buildup. Without it, the thermostat will open considerably later, and after the water at the heads is considerably over temperature (as the thermostat will be heated eventually by heat soak).
I suspect that also with the thermostat closed and no bypass you'll be cavitating the water pump, and cause hot spots in the head. However this is purely conjecture.
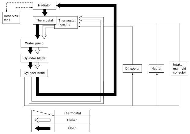
given where the bypass hose actually plugs into the block (passenger side, slightly forward of the center of the block) i believe its primary function is to help both sides of the engine get up to temp quickly and at roughly the same pace. i've attached a diagram from the FSM to show the multiple paths coolant takes to get back into the block.
Last edited by - bigc -; Mar 7, 2010 at 12:39 PM.
Thread
Thread Starter
Forum
Replies
Last Post
Gruppe-S
Body Interior
13
May 16, 2016 10:42 PM




